CA88官网

公司动态

了解最新公司动态及行业资讯

农田污染土壤修复治理的循环淋洗系统

2017-10-24 03:07:00 305 编辑:admin 来源:本站
    一种用于农田污染土壤修复治理的循环淋洗系统,该系统利用原位淋洗原理,在不破坏土壤结构和土壤肥力、不影响植物根系和农作物生长的情况下,采用淋洗的方法,降低土壤中污染物的含量,同时降低地下水位,防止污染反复;土壤淋洗后渗出的污染水进行除杂净化后,通过回灌再次对土壤进行灌溉淋洗,既除去了土壤中的污染物又灌溉了农田,同时不会产生二次污染。
    一、本发明以如下技术方案解决上述技术问题:
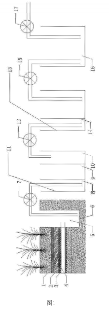
    本发明用于农田污染土壤修复治理的循环淋洗系统,包括依次相连接的灌溉淋洗系统、除杂净化系统和净水储存及回灌系统,净水存储及回灌系统的出水供给灌溉淋洗系统,组成循环系统;所述灌溉淋洗系统主要由种植土壤、有机质过滤层、粗砂过滤层、双壁波纹渗管和集水池构成,种植土壤、有机质过滤层、粗砂过滤层、双壁波纹渗管由上至下依次排布,双壁波纹渗管的出口连接集水池;集水池的出口连接除杂净化系统。
    所述集水池的底部设有HDPE防渗膜。
    所述除杂净化系统包括依次相接的除杂池和净化池,除杂池的入口与灌溉淋洗系统的集水池经管道相连接,除杂池的出口经管道与净化池的入口相连接,净化池的出口经管道与净水储存及回灌系统相连接,所述三个管道上均安装有抽水水泵。
    所述除杂池内设有依次相接,且顶部相连通的一级沉淀池、二级沉淀池和絮凝沉淀池,一级沉淀池与灌溉淋洗系统的出口经管道相连接,絮凝沉淀池与净化池经管道相连接。
    所述净化池内设有高分子半透离子交换格栅。
    所述净水存储及回灌系统包括净水存储池,净水存储池经管道将净水供给灌溉淋洗系统,该管道上安装有抽水水泵。
    二、有益效果:
    l、本发明用于农田污染土壤修复治理的循环淋洗系统在不破环土壤结构和土壤肥力、不影响植物根系和农作物生长的情况下,通过采用淋洗方法,降低土壤中污染物的含量,达到土壤修复的目的。
    2、本发明用于农田污染土壤修复治理的循环淋洗系统在修复治理土壤的过程中可以最大限度的控制地下水位,防止污染反复,加强了土壤修复效果,同时也可以有效控制修复程度,防止淋滤液向下迁移,避免造成二次污染。
    3、本发明用于农田污染土壤修复治理的循环淋洗系统在去除土壤中污染物的同时将淋洗液回收集中处理,处理后的淋滤液用于农田灌溉,既修复了污染土壤,又灌溉了农田,同时节约了水资源,不会造成环境的二次污染。
    4、本发明用于农田污染土壤修复治理的循环淋洗系统采用水或是在水中加入液体肥作为淋洗液,既修复了土壤,又提高了土壤肥力,同时没有带入其他化学物质,避免了二次污染的发生。
    5、本土壤淋洗修复技术在实施过程中不需要采用大规模施工设备,土壤开挖面积和工程量小,施工简单,作业面小,既不需要大量资金也不影响农业生产。
    附图说明
  农田污染土壤修复治理的循环淋洗系统的框架示意图
    图l为农田污染土壤修复治理的循环淋洗系统的框架示意图。
    图中:1-种植土壤、2-有机质过滤层、3-粗砂过滤层、4-双壁波纹渗管、5-集水池、6-HDPE防渗膜、7-抽水水泵一、8--级沉淀池、9-=级沉淀池、10-絮凝沉淀池、11-除杂池、12-抽水水泵二、13 -净化池、14高分子半透离子交换格栅、15-抽水水泵三、16-净水储存池、17-抽水水泵四。

30

装备制造经验

立即免费获取土壤修复方案

为用户提供及时、高效、便捷的服务

在线咨询
CA88官网环境希望与你携手,共创美好未来...
5