CA88官网

行业动态

了解最新公司动态及行业资讯

振动加强型土壤筛分设备的优点

2018-09-10 01:14:32 278 编辑:admin 来源:本站
      有机肥主要来源于植物和或动物,施于土壤以提供植物营养为其主要功能的含碳 物料。经生物物质、动植物废弃物、植物残体加工而来,消除了其中的有毒有害物质,富含大 量有益物质,包括:多种有机酸、肽类以及包括氮、磷、钾在内的丰富的营养元素。不仅能为 农作物提供全面营养,而且肥效长,可增加和更新土壤有机质,促进微生物繁殖,改善土壤 的理化性质和生物活性,是绿色食品生产的主要养分。 
土壤筛分

     现有的有机肥的粒度大小不一致,品质差,这就需要用到土壤筛分设备,现有的有机肥 大多是人工筛分,但是人工筛分工作效率低,且人工劳动强度大,且存在大量粉尘,对工作 人员的身体健康有害,目前也有部分企业也会用到土壤筛分设备,但是这些筛分设备筛分时振 动不稳定,筛分效果差。 
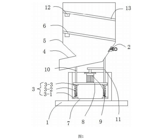
     一种振动加强型土壤筛分设备,涉及筛分设备领域,本发明包括底板和设置在底板上的筛分腔主体,筛分腔主体上方设置有进料口,筛分腔主体下方倾斜设置有出料口,筛分腔主体内从上到下依次设置有振动筛网A和振动筛网B,振动筛网A和振动筛网B下方均设置有加强型振动机构,筛分腔主体靠近出料口处设置有振动下料机构,本发明具有结构简单,筛分效果好,振动稳定的优点。

30

装备制造经验

立即免费获取土壤修复方案

为用户提供及时、高效、便捷的服务

在线咨询
CA88官网环境希望与你携手,共创美好未来...
5