CA88官网

行业动态

了解最新公司动态及行业资讯

可调式油泥土壤热脱附处理器安装麻烦吗

2018-08-25 00:54:27 290 编辑:admin 来源:本站
    随着时代的进步 ,人们对于环境的保护意识越来越重视,同时也越来越多的人开 始关注污染地的修复项目,而污染地内有许多油泥污染物需要进行净化分离,传统的油泥 土壤热脱附的处理器大多都是单一结构,需要多个设备同时协同工作,调制反应罐作为油泥热 脱附系统内的一个重要组成设备显得尤为重要,但传统的调制反应罐没有加热装置和搅拌 装置,需要额外的加热装置辅助调制反应罐完成反应过程,十分麻烦,且传统的调制反应罐 支脚都是固定的,无法进行调节,在遇到一些不平的地面时,安装麻烦,且不稳定。 
土壤热脱附

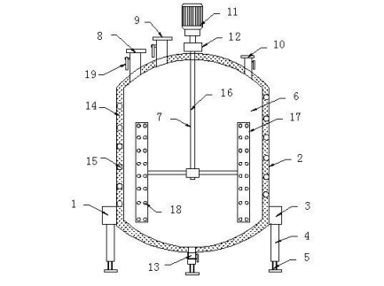
     可调式油泥土壤热脱附处理器,包括底座和调制反应釜主体,所述调制反应釜主体设置在所述底座上,所述底座包括支撑架、固定支脚和可调支脚,所述固定支脚和可调支脚均设置为三个,且三个所述固定支脚的一端均匀的设置在所述支撑架上,所述可调支脚设置在所述固定支脚的底部,且所述可调支脚与固定支脚通过螺纹连接,所述调制反应釜主体内设有调制反应腔,所述调制反应腔内设有搅拌桨,本实用新型结构设计合理,通过在调制反应釜主体内增添加热管道结构设计,能够无需借助外部的加热装置对调制反应釜主体进行加热,且两个进料口的结构设计,便于同时对调制反应釜主体内加入反应原液和反应调制剂。随着时代的进步 ,人们对于环境的保护意识越来越重视,同时也越来越多的人开 始关注污染地的修复项目,而污染地内有许多油泥污染物需要进行净化分离,传统的油泥 土壤热脱附的处理器大多都是单一结构,需要多个设备同时协同工作,调制反应罐作为油泥热 脱附系统内的一个重要组成设备显得尤为重要,但传统的调制反应罐没有加热装置和搅拌 装置,需要额外的加热装置辅助调制反应罐完成反应过程,十分麻烦,且传统的调制反应罐 支脚都是固定的,无法进行调节,在遇到一些不平的地面时,安装麻烦,且不稳定。 
可调式油泥土壤热脱附处理器,包括底座和调制反应釜主体,所述调制反应釜主体设置在所述底座上,所述底座包括支撑架、固定支脚和可调支脚,所述固定支脚和可调支脚均设置为三个,且三个所述固定支脚的一端均匀的设置在所述支撑架上,所述可调支脚设置在所述固定支脚的底部,且所述可调支脚与固定支脚通过螺纹连接,所述调制反应釜主体内设有调制反应腔,所述调制反应腔内设有搅拌桨,本实用新型结构设计合理,通过在调制反应釜主体内增添加热管道结构设计,能够无需借助外部的加热装置对调制反应釜主体进行加热,且两个进料口的结构设计,便于同时对调制反应釜主体内加入反应原液和反应调制剂。

30

装备制造经验

立即免费获取土壤修复方案

为用户提供及时、高效、便捷的服务

在线咨询
CA88官网环境希望与你携手,共创美好未来...
5