CA88官网

行业动态

了解最新公司动态及行业资讯

怎样让用户可以进行多级筛分

2018-08-14 02:01:16 315 编辑:admin 来源:本站
      在进行园林规划和建设过程中,有时需要对园林所处位置的土层进行土壤筛分,以满 足土层中不同承载力的要求,在传统的土层筛分过程中,主要是采用人 工手动筛分的形式, 当一次性筛分量比较大时,操作人员会非常的疲惫,另外采用手动筛分 不能够同时进行多 级筛分,使得筛分效率大大降低,使得用户使用起来非常的不方便。 
土壤筛分

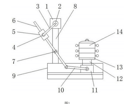
     为实现目的,提供如下技术方案一种园林用土壤筛分装置,包括 电机、转动板、转动杆、可动铰支座、滑块、摆动杆、固定铰支座、设备安装板、载重板、连动 杆、晃动箱、支撑柱体、电磁连接底座、筛分筛、电源开关、导线、线圈和铁芯,所述电机通过 转动板与转动杆连接,所述转动杆通过可动铰支座与滑块连接,所述滑块通过摆动杆与固 定铰支座连接,所述摆动杆通过固定铰支座与设备安装板连接,所述设备安装板的下侧焊 接有载重板,所述摆动杆通过可动铰支座与连动杆连接,所述连动杆通过固定铰支座与晃 动箱连接,所述晃动箱通过支撑柱体与电磁连接底座连接,所述电磁连接底座的上侧设置 有筛分筛,所述电磁连接底座的外侧安装有电源开关,所述电源开关通过导线与线圈连接, 所述线圈的内侧安装有铁芯。

30

装备制造经验

立即免费获取土壤修复方案

为用户提供及时、高效、便捷的服务

在线咨询
CA88官网环境希望与你携手,共创美好未来...
5