CA88官网

行业动态

了解最新公司动态及行业资讯

滚筒式土壤筛分装置的特征你知道吗

2018-02-07 08:40:17 302 编辑:admin 来源:本站
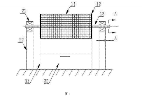
  现有的土壤样品预处理过程中,由于分析测试项目的要求不同,需要将土壤样品通过不同规格的筛网进行分离,筛分成适宜大小的颗粒进行实验。目前的土壤筛分工作主要由人工操作完成,如出现土壤采样量大,批次多,筛分规格要求多的情况,人工作业劳动大效率非常非常的低。为了解决上述的问题有一种滚筒式土壤筛分装置。
 
  这种滚筒式土壤筛分装置包括:筛网、将筛网两端固定成圆筒状的端口部、以及穿过两个端口部中心的转轴,以及驱动转轴转动的手柄,在转轴两端分别设置有轴承,在筛网的正下方设置有土壤收集箱。本实用新型所述滚筒式土壤筛分装置,通过设置通轴式的转轴,提高筛网承压能力,便于其筛分作业;在筛网下方设置有土壤收集箱,其结构紧凑,布局合理;利用手柄驱动转轴转动,其相对省力,劳动强度低,适合批量作业,实施效果好。
   

30

装备制造经验

立即免费获取土壤修复方案

为用户提供及时、高效、便捷的服务

在线咨询
CA88官网环境希望与你携手,共创美好未来...
5